CHAPTER 3
DESCRIPTION AND MAINTENANCE
Proper weapon maintenance is a vital part of all gunnery training programs. Good maintenance contributes to weapon effectiveness as well as to unit readiness. This chapter provides a technical description of the M203 grenade launcher, its components, and its ammunition. It also discusses proper procedures for clearing, disassembling, cleaning, lubricating, inspecting, and caring for the weapon.
3-1. DESCRIPTION
The M203 grenade launcher is a lightweight, single-shot, breech-loaded, pump action (sliding barrel), shoulder-fired weapon that is attached to an M16 rifle series (Figure 3-1), or the M4 carbine series with the M203A1 (Figure 3-2), and M4 carbine series with the rail system (Figure 3-3).
Figure 3-1. M203 grenade launcher (left side view).
Figure 3-2. M4 carbine with M203A1 (left side view).
Figure 3-3. M4 carbine with rail system.
| NOTES: | 1. The M203 grenade launcher must be mounted to the M16 rifle series by the unit's armorer, and the M203A1 must be mounted to the M4 carbine rifle series by the unit's supporting DS maintenance company IAW instructions contained in TM 9-1010221-23&P.
2. Individual soldiers should not attempt to either mount or dismount the grenade launcher to the weapon. |
3-2. TECHNICAL DATA
The technical data for the M203/M203A1 grenade launcher is as follows: |
||||
a. |
Weapon. |
|||
Length: |
||||
Rifle and grenade launcher (overall)............................. |
99.0 cm (39 inches) |
|||
Barrel only................................................................. |
30.5 cm (12 inches) |
|||
Rifling......................................................................... |
25.4 cm (10 inches) |
|||
Weight: |
||||
Launcher, unloaded.................................................... |
1.4 kg (3.0 pounds) |
|||
Launcher, loaded....................................................... |
1.6 kg (3.5 pounds) |
|||
Rifle and grenade launcher, both fully loaded.............. |
5.0 kg (11.0 pounds) |
|||
Number of lands............................................................... |
6 right hand twist |
|||
b. |
Ammunition. |
|||
Caliber............................................................................ |
40 mm |
|||
Weight............................................................................ |
About 227 grams (8 ounces) |
|||
c. |
Operational Characteristics. |
|||
Action............................................................................ |
Single shot |
|||
Sights: |
||||
Front...................................................................... |
Leaf sight assembly |
|||
Rear....................................................................... |
Quadrant sight |
|||
Chamber pressure.......................................................... |
206,325 kilopascals (35,000 psi) |
|||
Muzzle velocity.............................................................. |
76 mps (250 fps) |
|||
Maximum range............................................................. |
About 400 meters (1,312 feet) |
|||
Maximum effective range: |
||||
Fire-team sized area target..................................... |
350 meters (1,148 feet) |
|||
Vehicle or weapon point target............................... |
150 meters (492 feet) |
|||
Minimum safe firing range (HE): |
||||
Training................................................................ |
130 meters (426 feet) |
|||
Combat................................................................ |
31 meters (102 feet) |
|||
Minimum arming range |
About 14 to 38 meters (46 to 125 feet) |
|||
Rate of fire................................................................. |
5 to 7 rounds per minute |
|||
Minimum combat load................................................ |
36 HE rounds |
|||
WARNING When firing close-in, such as in urban areas, trenches, and other restrictive terrain, observe the minimum arming range to ensure the round clears other friendly forces. |
3-3. COMPONENTS
Figure 3-4 shows the M203's major components, and the following paragraphs describe their purposes. The sight assemblies, the trigger and trigger guard, and the safety are shown in Figures 3-5 through 3-10.
a. Handguard. The handguard assembly houses the rifle barrel (Figure 3-4).
Figure 3-4. Components of the M203 grenade launcher.
b. Quadrant Sight Assembly. The quadrant sight assembly, which attaches to the left side of the rifle's carrying handle, enables the grenadier to adjust for elevation and windage (Figure 3-4). This assembly consists of the sight, mounting screw, sight latch, rear sight aperture, sight aperture arm, front sight post, and sight post arm (Figure 3-5).
Figure 3-5. Quadrant sight assembly.
(1) Clamp, Bracket Assembly, and Mounting Screw. The clamp and the bracket assembly hold the quadrant sight on the rifle's carrying handle. The mounting screw inserts through the right side of the clamp and into the bracket assembly.
(2) Sight Arm and Range Quadrant. The sight arm mounts both the sight aperture arm (which holds the rear sight aperture) and the sight post arm (which holds the front sight post). This procedure allows the sight to pivot on the range quadrant to the desired range setting. The range quadrant is graduated in 25-meter increments from 50 to 400 meters. Applying rearward pressure on the sight latch releases the quadrant sight arm so it can move along the range quadrant. Centering the number in the rear sight aperture selects the desired range. Releasing the sight latch locks the sight in position.
(3) Front Sight Post. The front sight post mounts on the sight post arm by means of a pivot bracket. To prevent damage to the sights, keep the bracket closed when the sights are not in use. Use the sight post as follows to make minor adjustments in elevation when zeroing the launcher:
(a) To decrease elevation, turn the elevation adjustment screw on the sight post clockwise; to increase elevation, turn it counterclockwise.
(b) To move the impact of the projectile 5 meters at a range of 200 meters, turn the elevation adjustment screw one full turn--360 degrees. To move the impact of the projectile 2.5 meters at a range of 200 meters, turn the elevation adjustment screw one half turn--180 degrees.
(4) Rear Sight Aperture. The rear sight aperture is on the sight aperture arm, which is attached to the rear portion of the quadrant sight arm. Use the rear sight aperture as follows to make minor adjustments in deflection (windage) when zeroing the launcher:
(a) To move the impact to the left, press the rear sight aperture retainer down and move the rear sight aperture away from the barrel; to move to the right, move it toward the barrel.
(b) To move the impact of the projectile 1.5 meters at a range of 200 meters, move the rear sight aperture one notch.
c. Receiver Assembly and Serial Number. The receiver assembly houses the firing mechanism and ejection system and supports the barrel assembly. On the left side of the receiver assembly is the launcher's serial number (Figure 3-4).
d. Barrel Assembly. The barrel assembly holds the cartridges ready for firing and directs the projectile (Figure 3-4).
e. Barrel Latch. On the left side of the barrel is a latch that locks the barrel and receiver together (Figure 3-4). To open the barrel, depress the barrel latch and slide the barrel forward.
f. Leaf Sight Assembly. The leaf sight assembly is attached to the top of the handguard (Figure 3-6). The leaf sight assembly consists of the sight, its base and mount, an elevation adjustment screw, and a windage adjustment screw. Elevation and windage scales are marked on the mount. The folding, adjustable, open ladder design of the sight permits rapid firing without sight manipulation. The front sight post of the M16-series rifle serves as the front aiming post for the M203 leaf sight.
Figure 3-6. Leaf sight assembly.
(1) Sight Base. Two mounting screws permanently attach the sight base to the rifle handguard. When the sight is down or not in use, the base protects it from damage.
(2) Sight Mount and Sight. The grenadier uses the sight mount, which is attached to the sight base, to raise or lower the sight. Though the range is not marked on the sight in meters, the sight is graduated in 50-meter increments from 50 to 250 meters, which are marked with a "1" at 100 meters and a "2" at 200 meters.
(3) Elevation Adjustment Screw and Elevation Scale. The screw attaches the sight to its mount. When the screw is loosened, the sight can be moved up or down to make minor adjustments in elevation during the zeroing procedure. The rim of a 40-mm cartridge case is useful for turning the screw. Raising the sight increases the range; lowering the sight decreases the range. The elevation scale consists of five lines spaced equally on the sight. The index line is to the left of the sight. Moving the sight one increment moves the impact of the projectile 10 meters in elevation at a range of 200 meters.
(4) Windage Screw and Windage Scale. The knob on the left end of the windage screw is used to make minor deflection adjustments during the zeroing procedure. The scale has a zero line in its center and two lines spaced equally on each side of the zero line. At a range of 200 meters, turning the knob on the windage scale one increment to the left moves the impact of the projectile 1.5 meters to the right.
DANGER THE 50-METER MARK ON THE LEAF SIGHT BLADE IS MARKED IN RED TO EMPHASIZE THAT THIS RANGE MUST NOT BE USED FOR ZEROING PROCEDURES. DUE TO FRAGMENTATION, ZEROING IS EXTREMELY DANGEROUS AT 50 METERS OR LESS. |
f. Trigger Guard. The trigger guard protects the trigger (A, Figure 3-6). Depressing the rear portion of the trigger guard rotates it down and away from the magazine well of the rifle, which allows the weapon to be fired while the firer is wearing gloves or mittens (B, Figure 3-7).
Figure 3-7. Trigger guard.
g. Safety. The safety is inside the trigger guard, just in front of the trigger. For the launcher to fire, the safety must be forward. When the safety is rearward, the launcher is on SAFE. The safety is manually adjusted (Figure 3-8).
Figure 3-8. Safety.
3-4. AMMUNITION
The M203 grenade launcher uses several fixed-type, low-velocity 40-mm rounds. The M203 fires high-explosive, illuminating, signaling, CS, training, and multipurpose ammunition. This paragraph discusses only the most commonly used ammunition.
WARNING If fired into snow or mud, 40-mm rounds may not hit hard enough to detonate. An undetonated round may explode when stepped on or driven over. During training in snow or mud, avoid this hazard by firing only TP rounds. |
a. Types, Characteristics, and Capabilities. All M203 grenade launcher rounds are fixed rounds (Figure 3-9). (TM 43-0001-28 provides more details.)
Figure 3-9. Cartridges for the M203 grenade launcher.
(1) High-Explosive Dual Purpose Round. The HEDP round has an olive drab aluminum skirt with a steel cup attached, white markings, and a gold ogive (head of the round) (Figure 3-10). It penetrates at least 5 cm (2 inches) when fired straight at steel armor at 150 meters or less, or, at a point target it arms between 14 and 27 meters, causes casualties within a 130-meter radius, and has a kill radius of 5 meters.
Figure 3-10. HEDP round.
(2) High-Explosive Round. The HE round has an olive drab aluminum skirt with a steel projectile attached, gold markings, and a yellow ogive (Figure 3-11). It arms between 14 and 27 meters, produces a ground burst that causes casualties within a 130-meter radius, and has a kill radius of 5 meters.
Figure 3-11. HE round.
(3) Star Parachute Round. This round is white impact or bar alloy aluminum with black markings (Figure 3-12). It is used for illumination and signals and is lighter and more accurate than comparable handheld signal rounds. The parachute attached to the round deploys upon ejection to lower the candle at 7 feet per second. The candle burns for about 40 seconds. A raised letter on the top of the round denotes the color of the parachute.
Figure 3-12. Star parachute round.
(4) White Star Cluster Round. This round is white impact or bar aluminum alloy with black markings (Figure 3-13). The attached plastic ogive has five raised dots for night identification. The round is used for illumination or signals. It is lighter and more accurate than comparable handheld signal rounds. The individual stars burn for about 7 seconds during free fall.
Figure 3-13. White star cluster round.
(5) Ground Marker Round. This round is light green impact aluminum with black markings (Figure 3-14). It is used for aerial identification and for marking the location of soldiers on the ground. It arms between 15 and 45 meters. If a fuze fails to function on impact, the output mixture provided in the front end of the delay casing backs up the impact feature. The color of the ogive indicates the color of the smoke.
Figure 3-14. Ground marker round (smoke).
(6) Practice Round. Used for practice, this round is blue zinc or aluminum with white markings (Figure 3-15). It produces a yellow or orange signature on impact, arms between 14 and 27 meters, and has a danger radius of 20 meters.
Figure 3-15. Practice round.
(7) CS Round. This round is gray aluminum with a green casing and black markings (Figure 3-16). Though it is a multipurpose round, it is most effective for riot control and in MOUT. It arms between 10 and 30 meters and produces a white cloud of CS gas on impact.
Figure 3-16. CS round.
(8) Buckshot Round. This round is olive drab with black markings (Figure 3-17). Though it is a multipurpose round, it is most effective in thick vegetated areas or for room clearing. Inside it has at least 2,000 pellets, which cast a cone of fire 30 meters wide and 30 meters high and travel at 269 meters per second. Be sure to aim buckshot rounds at the foot of the target. The round has no mechanical-type fuse.
Figure 3-17. Buckshot round.
b. Storage. Ammunition should be stored under cover. If this is not possible, store it at least 15 centimeters (6 inches) above the ground and covered with a double layer of tarpaulins. Place the tarpaulins so they protect the ammunition but still allow for ventilation. Dig trenches to prevent water from flowing under the ammunition.
c. Care, Handling, and Preservation. Do not open ammunition containers until you are ready to use the ammunition. Ammunition removed from the airtight container is likely to corrode, particularly in damp climates. Soldiers must take the following precautions:
(1) Protect Ammunition from Mud, Dirt, and Water. If it gets wet or dirty, wipe it off before using it. Also, wipe off lightly corroded cartridges as soon as the corrosion is discovered. Do not fire heavily corroded or dented projectiles or those with loose parts or particles.
(2) Avoid Exposing Ammunition to the Direct Rays of the Sun. Hot powder can cause excessive pressure when the round is fired.
(3) Do Not Lubricate Ammunition. This can cause dust and other abrasives to collect on it and damage the operating parts of the launcher.
d. Packaging. Ammunition packaging varies according to the type of ammunition:
(1) HE, HEDP, and TP. Each box of HE, HEDP, and TP ammunition contains 1 can with 6 bandoleers of 12 rounds each, for a total of 72 rounds.
(2) Smoke and Cluster Ammunition. Each wire-bound box of smoke and cluster ammunition contains 2 cans with 22 rounds each, for a total of 44 rounds.
(3) CS Ammunition. Each box of CS ammunition contains 2 cans with 4 bandoleers of 6 rounds each, for a total of 48 rounds.
(4) Buckshot. Each box of buckshot ammunition contains 12 bandoleers of 6 rounds each, for a total of 72 rounds.
3-5. CLEARING PROCEDURES
The soldier must clear the weapon before performing maintenance on it. FM 23-9 (3.22.9) provides instructions for clearing an M16-series rifle. To clear the grenade launcher--
a. Push in the release button and pull the barrel forward.
b. Watch to see if a round extracts.
c. Place the safety on SAFE.
d. Inspect the breech to ensure a round is not present.
e. Pull the barrel to the rear until it clicks. This cocks the weapon.
f. Place the safety on FIRE.
3-6. GENERAL DISASSEMBLY
When disassembling the weapon, the soldier places each part, as it is removed, on a clean, flat surface such as a table, shelter half, or disassembly mat. This aids in reassembly and simplifies the task of keeping up with the parts. The soldier will later assemble the grenade launcher in the reverse order that he disassembled it. (Only ordnance personnel disassemble the grenade launcher beyond the steps described here.) To disassemble the weapon--
a. Loosen the mounting screw and remove the quadrant sight assembly from the carrying handle of the M16-series rifle (Figure 3-18).
Figure 3-18. Removing the quadrant sight assembly.
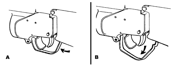
b. Remove the barrel assembly and handguard assembly, in either order:
(1) Barrel Assembly First. Push the barrel latch and move the barrel forward until it hits the barrel stop. On the left side of the handguard, insert a cleaning rod into the fourth hole back from the muzzle, depress the barrel stop, and slide the barrel forward and off (Figure 3-19).
Figure 3-19. Removing the barrel assembly
before the handguard assembly.
(2) Handguard Assembly First. Pull back on the M16's slip ring and remove the handguard by pulling it up and back. Push the barrel latch and move the barrel forward until it hits the barrel stop. Use a cleaning rod to depress the barrel stop and slide the barrel forward and off (Figure 3-20).
Figure 3-20. Removing the handguard assembly
before the barrel assembly.
3-7. CLEANING AND LUBRICATION
After firing the grenade launcher, or if it has been idle for a long time, the soldier must clean and lubricate it as follows:
a. Bore. Attach a clean, dry rag to the thong and thoroughly moisten the rag with CLP. Pull the rag through the bore several times. Attach the bore brush to the thong, pull it through the bore several times, and follow this with more rags moistened with CLP (Figure 3-21). Pull dry rags through the bore, and inspect each rag as it is removed. The bore is clean when a dry rag comes out clean. Finally, pull a rag lightly moistened with CLP through the bore to leave a light coat of lubricant inside the barrel.
Figure 3-21. Cleaning the barrel with thong and bore brush.
b. Breech Insert. Clean the face of the breech insert with a patch and CLP. Remove this CLP with dry rags; then lubricate the breech with a new, light coat of CLP.
c. Other Parts. Use a brush and dry rags to clean all the other parts and surfaces. After cleaning, apply a light coat of CLP to the outside of the launcher.
d. Safety Mechanism. Clean the safety mechanism properly with CLP; then lubricate it with CLP.
e. Special Lubrication Requirements. Lubricate the grenade launcher only with CLP and IAW the following environmental guidelines:
(1) Extreme Heat. Lubricate with CLP, grade 2.
(2) Damp or Salty Air. Clean the weapon and apply CLP, grade 2, frequently.
(3) Sandy or Dusty Air. Clean the weapon and apply CLP, grade 2, frequently. Remove excess CLP with a rag after each application.
(4) Temperatures Below Freezing. When the weapon is brought in from a cold area to a warm area, keep it wrapped in a parka or blanket, and allow it to reach room temperature gradually. If condensation forms on the weapon, dry and lubricate it at room temperature with CLP, grade 2, before returning it to cold weather. Otherwise, ice will form inside the mechanism.
| NOTE: | Although CLP provides the required lubrication at temperatures down to -35°F (-37°C), it will not flow from a 1/2-ounce bottle at temperatures below 0°F (-17°C). |
3-8. INSPECTION
Inspection begins with the weapon already disassembled into its major groups or assemblies. Parts with shiny surfaces are serviceable. The following parts of the weapon and related equipment are inspected IAW TM 9-1010-221-10:
a. All Parts. Check for wear and damage, including burrs, scratches, and nicks.
b. Handguard. Check for cracks, dents, or distortion that prevents its firm attachment to the rifle.
c. Leaf Sight Assembly. Check for bent or damaged parts, rust or corrosion, and illegibility of markings.
d. Barrel. Check for cracks or dents.
e. Cartridge and Retainers. Check for breakage, bends, chips, or missing parts.
| NOTE: | Take any unserviceable part to the armorer, who will determine its serviceability and replace parts as necessary. |
3-9. GENERAL ASSEMBLY
The soldier assembles the grenade launcher in the reverse order of disassembly.
a. Install the barrel by pressing the barrel stop and sliding the barrel into the receiver (Figure 3-22).
Figure 3-22. Installing the barrel.
b. Lock the barrel by moving it rearward until it closes with a click (Figure 3-23).
Figure 3-23. Locking the barrel.
c. Install the handguard and secure it with the slip ring (Figure 3-24).
Figure 3-24. Installing and securing the handguard.
d. Install the quadrant sight assembly (Figure 3-25).
Figure 3-25. Installing the quadrant sight assembly.
e. Perform a function check to ensure that the grenade launcher has been assembled correctly. Notify the unit armorer at once if the launcher fails to function. Conduct the function check in this order:
(1) Check the proper operation of the sear. Cock the launcher and pull the trigger. The firing pin should release with a metallic click. Hold the trigger to the rear and cock the launcher again. Release the trigger, then pull. The firing pin should again release.
WARNING If the sear malfunctions, the launcher could fire without the trigger being pulled. |
(2) Check the safety by pulling the trigger in both the SAFE and FIRE positions. The launcher must be cocked before the safety can be placed in the SAFE position.
(3) Check the leaf sight assembly windage adjustment screw for proper operation. Move the elevation adjustment screw only if the weapon has been zeroed.
(4) Move the barrel forward and back to be sure the barrel stop and barrel latch function.
3-10. CARE AND HANDLING
Certain steps must be taken before, during, and after firing to properly maintain the grenade launcher.
a. Before firing.
- Wipe the bore dry.
- Inspect the weapon as outlined in the operator's technical manual.
- Ensure the weapon is properly lubricated.
b. During firing.
- Periodically inspect the weapon to ensure that it is lubricated.
- When malfunctions or stoppages occur, follow the procedures outlined in Chapter 4.
3-11. CARE AND HANDLING UNDER NBC CONDITIONS
If contamination is anticipated, the soldier should apply CLP to all outer metal surfaces of the weapon. Ammunition, however, should never be lubricated. The soldier should keep the weapon covered as much as possible. If the weapon is contaminated, he should decontaminate it IAW FM 3-3 and FM 3-4 and then clean and lubricate it.
3-12. DECONTAMINATION
Leaders must try to reduce the penetration of contaminants and exposure to them. Contaminated material is disposed of IAW SOP.
a. Nuclear. Wipe off the weapon with warm soapy water. Otherwise, use towelettes or rags. (FM 3-5 provides details.)
b. Biological. Use towelettes from the M258A1 kit to wipe off the weapon. If these are not available, wash with soap and water.
c. Chemical. Use soap and water or towelettes as for biological contamination.
|
NEWSLETTER
|
| Join the GlobalSecurity.org mailing list |
|
|
|

























